咨詢熱線 158-9069-4988
貼心完善,保障您購買無憂~
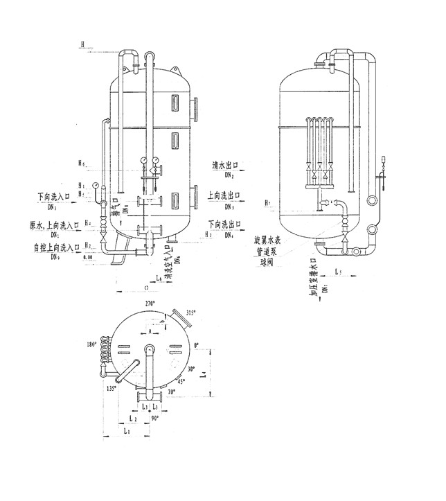
纖維過濾器是根據流體力學原理,在總結HG型纖維過濾的運行狀況的基礎上,近年新研制成的新型過濾器。它集石英砂過濾器和膠囊式纖維過濾器的優點于一身,即利用了纖維束濾料的阻力小,流速大,過濾精度高,壽命長的優點,也利用了石英砂過濾器操作簡單的特點,結合而成為一代新型的過濾器。
纖維過濾器是一種性能好的壓力式纖維過濾器,它采用了一種新型的束狀軟填充纖維作為過濾器的纖維球過濾器的參數濾元,其填料直徑可達幾十微米甚至幾微米,并具有比表面大,過濾阻力小等優點,解決了粒狀濾料的過濾精度受濾料粒徑限制等問題。微小的濾料直徑,*地增加纖維球過濾器的參數了濾料的比表面積和表面自由能,在過濾器的濾層內設有加壓室,通過加壓室對纖維的擠壓,使濾層沿水流動方向的截面逐漸縮小,密度逐漸加大,相應濾層孔隙直徑和孔隙逐漸減小,實現了理想的深層過濾。
主要技術指標:
(1)過濾速度大:30-45m/h。該速度是石英砂過濾器過濾速度的3-4倍左右。
(2)易反洗:反洗時,纖維濾料充分疏松,在氣泡及水力的作用下,反洗再生非。
(3)纖維球過濾器的參數過濾器過濾效率高:當經過混凝處理的進水濁度不大于10FTU時,濾后水濁度纖維球過濾器大于1FTU。
(4)纖維球過濾器設備體積小:設備體積為相同濾水量的石英砂過濾器體積的1/3左右。
(5)截污容量大:設備的截污空量為5-10kg/m3(濾料)。
(6)機械強度高,使用壽命長,操作簡單、維護方便、運行可靠:高分子丙綸纖維濾料的使用壽命在十年以上。它比石英砂的強度高,通常的過濾及反洗強度,不會發生破損和跑料。

匠心 真誠 服務
咨詢熱線 158-9069-4988